Close
Skip to content
CHANNEL
PARTNERS
About
News
Events
Community
Overview
Bridges to Prosperity
Lifting for the Troops
The Ocean Cleanup
Japan Paralympic Team
Quality
Engineered Solutions
Brands
Kito
Crosby
Harrington
Gunnebo Industries
Peerless
eepos
Products
Kito
Crosby
Harrington
Gunnebo Industries
Peerless
eepos
Resources
Industries
Training
Overview
End User (University)
Overview
Kito
Crosby
Overview
Request On-Site Training
Order Training Materials
Certificate Reprints
Crosby Videos
Feedback
Harrington
Peerless
Channel Partner (Academy)
Overview
Kito
Crosby
Harrington
Peerless
Training Alliance Program
Request On-Site Training
Careers
Contact
Sales/Customer Service
Clamp Repair Centers
Catalogs
>
Crosby Catalog
>
Lifting Points
> Crosby G-400 Eye Nuts
Products search
Crosby G-400 Eye Nuts
SKU:
GRRR127
Category:
Lifting Points
Product details
Forged steel - Quenched & Tempered.
Hot-dip galvanized
Tapped with standard UNC class 2 threads after galvanizing.
Also available in blank (as forged) item (S-4028).
Meets or exceeds all requirements of ASME B30.26.
×
Download CAD & PDF Files
First Name
(Required)
Last Name
(Required)
Company
(Required)
Email
(Required)
Phone
(Required)
Job Title
(Required)
Postal Code
(Required)
Phone
This field is for validation purposes and should be left unchanged.
Videos
G-400 Eye Nuts
Imperial
Metric
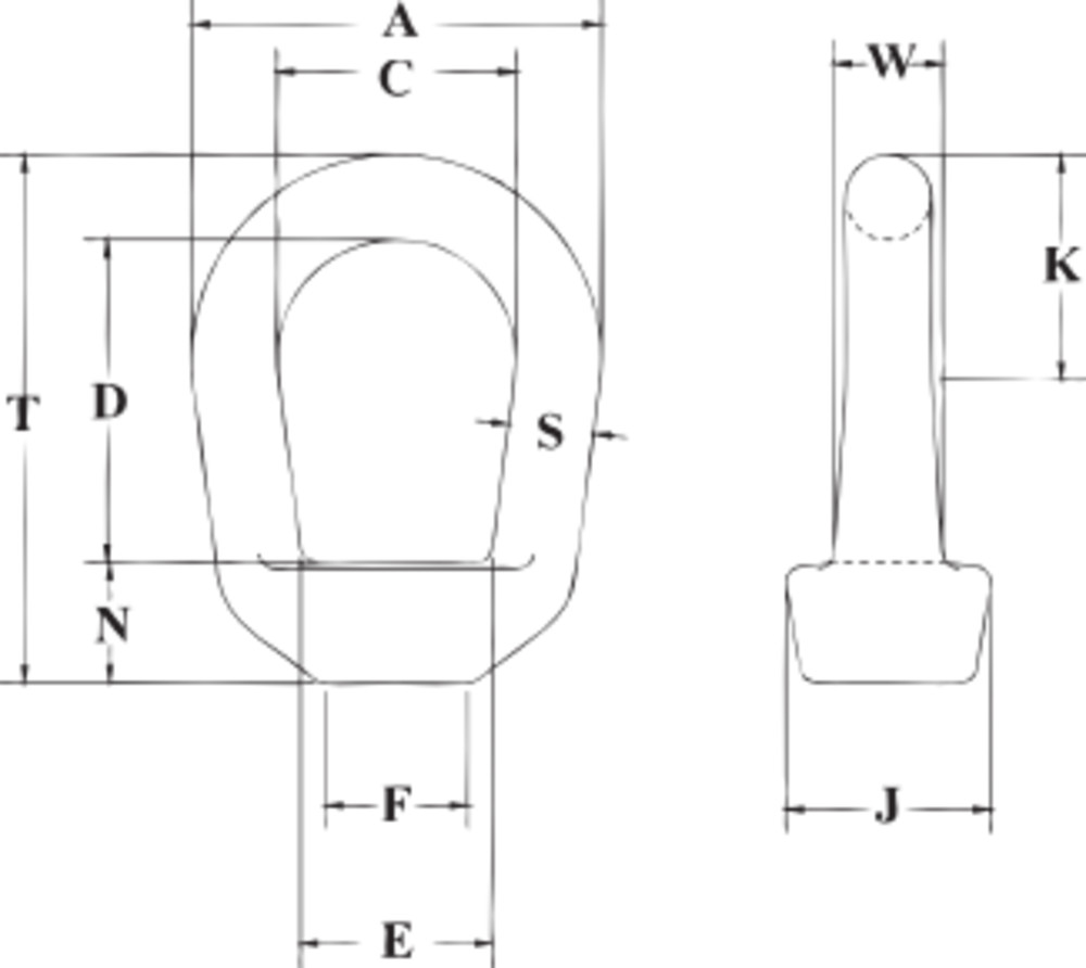
Size No.
"S" Stock Size (in)
Stock No.
Std. Tap Size (in)
Working Load Limit (lb)
Weight Each (lb)
Dimensions (in)
A
C
D
E
F
J
K
N
T
W
1
.25
1090438
1/4
520
.09
1.25
.75
1.00
.75
.50
.69
.63
.38
1.72
.31
2
.31
1090474
3/8
1250
.17
1.62
1.00
1.20
.83
.56
.81
.89
.50
2.09
.41
3A
.38
1090517
1/2
2250
.28
2.00
1.25
1.44
1.08
.81
1.00
1.09
.62
2.55
.50
4
.50
1090535
5/8
3600
.60
2.50
1.50
1.92
1.35
1.00
1.31
1.31
.69
3.25
.69
5
.63
1090553
3/4
5200
1.00
3.00
1.75
2.38
1.59
1.12
1.50
1.57
.88
3.89
.84
6
.75
1090571
7/8
7200
1.65
3.50
2.00
2.63
1.96
1.38
1.88
1.77
.94
4.32
1.00
7
.88
1090599
1
10000
2.69
4.00
2.25
3.06
2.21
1.56
2.13
2.02
1.07
5.01
1.19
8
1.00
1090633
1-1/4
15500
4.38
4.50
2.50
3.50
2.46
1.88
2.38
2.27
1.25
5.78
1.38
9
1.13
1090651
1-3/8
18500
5.00
5.00
2.75
4.00
2.69
2.00
2.56
2.53
1.38
6.51
1.50
10
1.25
1090679
1-1/2
22500
6.78
5.62
3.12
4.31
3.09
2.25
3.00
2.82
1.50
7.06
1.66
11
1.50
1090697
2
40000
14.60
7.12
4.10
6.20
4.09
3.13
3.75
3.68
2.06
9.91
1.94
Size No.
"S" Stock Size (mm)
Stock No.
Std. Tap Size (in)
Working Load Limit (t)
Weight Each (kg)
Dimensions (mm)
A
C
D
E
F
J
K
N
T
W
1
6.35
1090438
1/4
.24
.04
31.8
19.1
25.4
19.1
12.7
17.5
16.0
9.65
43.7
7.85
2
7.85
1090474
3/8
.57
.08
41.1
25.4
30.5
21.1
14.2
20.6
22.6
12.7
53
10.4
3A
9.65
1090517
1/2
1.02
.13
51.0
31.8
36.6
27.4
20.6
25.4
27.7
15.7
63.5
12.7
4
12.7
1090535
5/8
1.63
.27
63.5
38.1
48.8
34.3
25.4
33.3
33.3
17.5
82.5
17.5
5
16
1090553
3/4
2.36
.45
76.0
44.5
60.5
40.4
28.4
38.1
39.9
22.4
98.8
21.3
6
19.1
1090571
7/8
3.27
.75
89.0
51.0
66.8
49.8
35.1
47.8
45.0
23.9
110
25.4
7
22.4
1090599
1
4.54
1.22
102
57.0
77.7
56.0
39.6
54.0
51.5
27.2
127
30.2
8
25.4
1090633
1-1/4
7.03
1.98
114
63.5
88.9
62.5
47.8
60.5
57.5
31.8
147
35.1
9
28.7
1090651
1-3/8
8.39
2.27
127
70.0
102
68.5
51.0
65.0
64.5
35.1
165
38.1
10
31.8
1090679
1-1/2
10.21
3.08
143
79.0
109
78.5
57.0
76.0
71.5
38.1
179
42.2
11
38.1
1090697
2
18.14
6.62
181
104
157
104
79.5
95.5
93.5
52.3
252
49.3
5:1 Design Factor. Working Load Limit shown is for In-Line pull. Rating based on standard tap size.
Diagram Images
Downloads
Downloads
Catalog Page Imperial
Catalog Page Metric
Applications & Warnings
Download print version of the catalog (PDF)
Locate a local sales manager
Authenticate your product
For Crosby and Gunnebo Industries products only
Verify authenticity of a certificate
For Crosby and Gunnebo Industries products only
✖