Close
Skip to content
CHANNEL
PARTNERS
About
News
Events
Community
Overview
Bridges to Prosperity
Lifting for the Troops
The Ocean Cleanup
Japan Paralympic Team
Quality
Engineered Solutions
Brands
Kito
Crosby
Harrington
Gunnebo Industries
Peerless
eepos
Products
Kito
Crosby
Harrington
Gunnebo Industries
Peerless
eepos
Resources
Industries
Training
Overview
End User (University)
Overview
Kito
Crosby
Overview
Request On-Site Training
Order Training Materials
Certificate Reprints
Crosby Videos
Feedback
Harrington
Peerless
Channel Partner (Academy)
Overview
Kito
Crosby
Harrington
Peerless
Training Alliance Program
Request On-Site Training
Careers
Contact
Sales/Customer Service
Clamp Repair Centers
Catalogs
>
Crosby Catalog
>
Hooks & Swivels
> Crosby O-318 Chain Nest Hooks
Products search
Crosby O-318 Chain Nest Hooks
SKU:
GRRRRR1
Category:
Hooks & Swivels
Product details
With ball bearing swivel; attaches to chain by an alloy pin.
Suitable for frequent rotation under load.
HO-318 Hooks utilize Crosby SHUR-LOC® positive locking hooks. Latch is self-locking when hook is loaded.
O-319 Hooks utilize Crosby® standard 319 Shank Hooks which incorporate QUIC-CHECK® deformation and angle indicators. (For detailed information, see the Crosby Value Added page at the beginning of this section.)
Entire assembly is zinc plated.
Repair kit available consisting of bearing and spring pin.
×
Download CAD & PDF Files
First Name
(Required)
Last Name
(Required)
Company
(Required)
Email
(Required)
Phone
(Required)
Job Title
(Required)
Postal Code
(Required)
Comments
This field is for validation purposes and should be left unchanged.
Videos
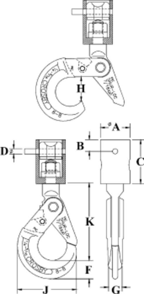
O-318 Chain Nest Hooks
Imperial
Metric
Chain Size (in)
Stock No.
WLL (short Tons)*
Weight Each (lb)
Dimensions (in)
Replacement Trigger Kit Stock No.
A
B
C
D
F
G
H
J
K
1/4 - 9/32
1098409
1.5
3.50
1.75
.70
2.62
.31
1.10
.81
1.46
3.50
4.59
6603011
5/16 - 3/8
1098427
2.1
6.00
2.13
.70
3.19
.38
1.15
.94
1.83
4.35
5.65
6603012
3/8 - 7/16
1098445
3.8
13.75
3.00
1.00
4.38
.50
1.66
1.16
2.11
5.45
7.06
6603013
1/2 - 9/16
1098463
3.8
13.75
3.00
1.00
4.38
.63
1.66
1.16
2.11
5.45
7.06
6603013
Chain Size (mm)
Stock No.
Working Load Limit (t)
Weight Each (kg)
Dimensions (mm)
Replacement Trigger Kit Stock No.
A
B
C
D
F
G
H
J
K
6 - 7
1098409
1.5
1.59
44.5
17.8
66.5
7.87
27.9
20.6
37.1
89.0
117
6603011
8 - 10
1098427
2.1
2.72
54.0
17.8
81.0
9.65
29.2
23.9
46.5
110
144
6603012
10 - 11
1098445
3.8
6.24
76.0
25.4
111
12.7
42.2
29.5
53.5
138
179
6603013
13 - 14
1098463
3.8
6.24
76.0
25.4
111
16.0
42.2
29.5
53.5
138
179
6603013
4:1 Design Factor.
Diagram Images
Downloads
Downloads
Catalog Page Imperial
Catalog Page Metric
Applications & Warnings
Download print version of the catalog (PDF)
Locate a local sales manager
Authenticate your product
For Crosby and Gunnebo Industries products only
Verify authenticity of a certificate
For Crosby and Gunnebo Industries products only
✖