Close
Skip to content
CHANNEL
PARTNERS
About
News
Events
Community
Overview
Bridges to Prosperity
Lifting for the Troops
The Ocean Cleanup
Japan Paralympic Team
Quality
Engineered Solutions
Brands
Kito
Crosby
Harrington
Gunnebo Industries
Peerless
eepos
Products
Kito
Crosby
Harrington
Gunnebo Industries
Peerless
eepos
Resources
Industries
Training
Overview
End User (University)
Overview
Kito
Crosby
Overview
Request On-Site Training
Order Training Materials
Certificate Reprints
Crosby Videos
Feedback
Harrington
Peerless
Channel Partner (Academy)
Overview
Kito
Crosby
Harrington
Peerless
Training Alliance Program
Request On-Site Training
Careers
Contact
Sales/Customer Service
Clamp Repair Centers
Catalogs
>
Crosby Catalog
>
Clips & Wire Rope Fittings
> Crosby Open Pattern Thimbles
Products search
Crosby Open Pattern Thimbles
SKU:
GRRR201
Category:
Clips & Wire Rope Fittings
Product details
Hot-dip galvanized steel.
Recommended for light duty applications where assembly into another fitting (i.e., shackle or master link) is required.
×
Download CAD & PDF Files
First Name
(Required)
Last Name
(Required)
Company
(Required)
Email
(Required)
Phone
(Required)
Job Title
(Required)
Postal Code
(Required)
Comments
This field is for validation purposes and should be left unchanged.
Videos
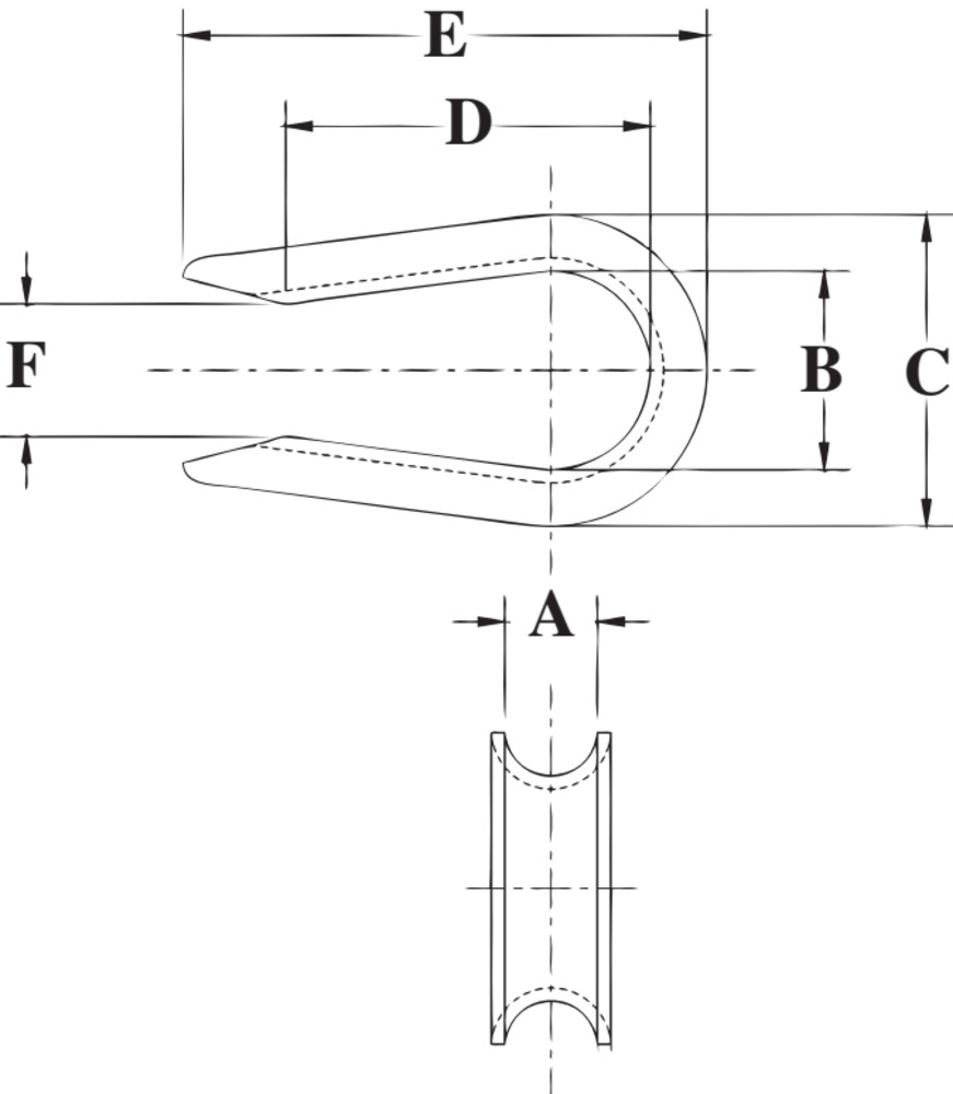
Open Pattern Thimbles
Imperial
Metric
Rope Diameter
Stock No
Weight Per 100 (lb)
Dimensions (in)
(in)
(mm)
A
B
C
D
E
F
1/4
6-7
1037531
3.00
.28
.69
1.06
1.41
2.03
.38
5/16
8
1037559
3.80
.34
.81
1.25
1.53
2.16
.50
3/8
9-10
1037577
7.00
.44
.94
1.47
1.72
2.47
.62
1/2
11-13
1037595
12.50
.53
1.12
1.75
1.97
2.84
.75
5/8
16
1037611
25.00
.66
1.38
2.38
2.34
3.59
1.00
Rope Diameter
Stock No
Weight Per 100 (kg)
Dimensions (mm)
(in)
(mm)
A
B
C
D
E
F
1/4
6-7
1037531
1.36
7.10
17.5
26.9
35.8
51.5
9.65
5/16
8
1037559
1.72
8.65
20.6
31.8
38.9
55.0
12.7
3/8
9-10
1037577
3.18
11.2
23.9
37.3
43.7
62.5
15.7
1/2
11-13
1037595
5.67
13.5
28.4
44.5
37.3
72.0
19.1
5/8
16
1037611
11.3
16.8
35.1
60.5
59.5
91.0
25.4
Diagram Images
Downloads
Downloads
Catalog Page Imperial
Catalog Page Metric
Applications & Warnings
Download print version of the catalog (PDF)
Locate a local sales manager
Authenticate your product
For Crosby and Gunnebo Industries products only
Verify authenticity of a certificate
For Crosby and Gunnebo Industries products only
✖