Close
Skip to content
CHANNEL
PARTNERS
About
News
Events
Community
Overview
Bridges to Prosperity
Lifting for the Troops
The Ocean Cleanup
Japan Paralympic Team
Quality
Engineered Solutions
Brands
Kito
Crosby
Harrington
Gunnebo Industries
Peerless
eepos
Products
Kito
Crosby
Harrington
Gunnebo Industries
Peerless
eepos
Resources
Industries
Training
Overview
End User (University)
Overview
Kito
Crosby
Overview
Request On-Site Training
Order Training Materials
Certificate Reprints
Crosby Videos
Feedback
Harrington
Peerless
Channel Partner (Academy)
Overview
Kito
Crosby
Harrington
Peerless
Training Alliance Program
Request On-Site Training
Careers
Contact
Sales/Customer Service
Clamp Repair Centers
Catalogs
>
Crosby Catalog
>
Hooks & Swivels
> Crosby S-13326H SHUR-LOC® Handle Swivel Hooks with Bearings
Products search
Crosby S-13326H SHUR-LOC® Handle Swivel Hooks with Bearings
SKU:
GRRRR82
Category:
Hooks & Swivels
Product details
The SHUR-LOC® Handle Hook allows the user to get a confident grip on a load with ease and comfort.
Designed with a handle opening big enough to comfortably fit a gloved hand.
Positive lock latch is self-locking when hook is loaded.
Rated for both wire rope and use with Grade 80/100 chain.
S-13326H Swivel Hook utilizes anti-friction bearing design which allows hook to rotate freely under load.
Individually Proof Tested at 2-1/2 times the chain Working Load Limit with certification.
The replaceable pull-trigger allows the user to easily open the SHUR-LOC’s positive self-locking latch.
Ergonomically designed for easy use and precise control.
Secondary side trigger is recessed to avoid inadvertent release.
Fatigue rated to 20,000 cycles at 1-1/2 times the Working Load Limit.
Forged alloy steel, Quenched & Tempered.
The SHUR-LOC® hook, if properly installed and locked, can be used for personnel lifting applications and meets the intent of OSHA Rule 1926.1431(g)(1)(i)(A) and 1926.1501(g)(4)(iv)(B).
×
Download CAD & PDF Files
First Name
(Required)
Last Name
(Required)
Company
(Required)
Email
(Required)
Phone
(Required)
Job Title
(Required)
Postal Code
(Required)
Comments
This field is for validation purposes and should be left unchanged.
Videos
S-13326H SHUR-LOC® Handle Swivel Hooks with Bearings
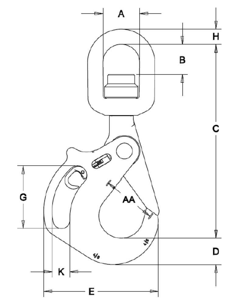
Imperial
Metric
Chain Size
Grade 100 Alloy Chain Working Load Limit (lb) 4:1
Working Load Limit (lb) 5:1
Frame Code
Stock No.
Weight Each (lb)
Dimensions (in)
Rep. Trigger Kit Stock No.
(in)
(mm)
A
B
C
D
E
F
G
H
J
K
L
AA*
5/8
16
22,600
18,080
JA
1005014
26
2.75
2.26
14.47
1.97
8.55
1.78
4.69
1.13
1.73
1.32
2.80
4.00
6603032
3/4
18/20
35,300
28,240
KA
1005023
37
3.12
2.05
15.49
2.60
9.99
1.99
4.72
1.25
2.05
1.31
3.31
5.00
6603033
7/8
22
42,700
34,160
LA
1005041
57
4.09
3.65
19.11
2.72
11.48
2.24
5.35
1.50
2.44
1.57
3.66
6.00
6603034
1
26
59,700
47,760
NA
1005050
84
5.00
4.02
21.55
3.11
12.76
2.52
6.46
1.63
2.76
1.57
4.09
6.50
6603035
Chain Size
Grade 10 Alloy Chain Working Load Limit (t) 4:1
Working Load Limit (t) 5:1
Frame Code
Stock No.
Weight Each (kg)
Dimensions (mm)
(in)
(mm)
A
B
C
D
E
F
G
H
J
K
L
AA*
Rep. Trigger Kit Stock No.
5/8
16
10.3
8.2
JA
1005014
11.8
69.9
57.2
272
50
217
42.5
119
28.7
44
33.5
71
102
6603032
3/4
18/20
16.0
12.8
KA
1005023
16.8
79.2
51.9
393
66
255
50.5
120
31.8
52
32
84
127
6603033
7/8
22
19.4
15.5
LA
1005041
25.9
104
92.7
482
69
292
57
136
41.4
62
40
93
152
6603034
1
26
27.1
21.7
NA
1005050
38.1
127
102
547
79
324
64
164
41.4
70
40
104
165
6603035
*Deformation indicators.
Diagram Images
Downloads
Downloads
Catalog Page Imperial
Catalog Page Metric
Applications & Warnings
Download print version of the catalog (PDF)
Locate a local sales manager
Authenticate your product
For Crosby and Gunnebo Industries products only
Verify authenticity of a certificate
For Crosby and Gunnebo Industries products only
✖