Close
Skip to content
CHANNEL
PARTNERS
About
News
Events
Community
Overview
Bridges to Prosperity
Lifting for the Troops
The Ocean Cleanup
Japan Paralympic Team
Quality
Engineered Solutions
Brands
Kito
Crosby
Harrington
Gunnebo Industries
Peerless
eepos
Products
Kito
Crosby
Harrington
Gunnebo Industries
Peerless
eepos
Resources
Industries
Training
Overview
End User (University)
Overview
Kito
Crosby
Overview
Request On-Site Training
Order Training Materials
Certificate Reprints
Crosby Videos
Feedback
Harrington
Peerless
Channel Partner (Academy)
Overview
Kito
Crosby
Harrington
Peerless
Training Alliance Program
Request On-Site Training
Careers
Contact
Sales/Customer Service
Clamp Repair Centers
Catalogs
>
Crosby Catalog
>
Lifting Points
> Crosby S-279 UNC Shoulder Type Machinery Eye Bolts
Products search
Crosby S-279 UNC Shoulder Type Machinery Eye Bolts
SKU:
GRRR240
Category:
Lifting Points
Product details
Forged Steel - Quenched & Tempered.
Working Load Limits shown are for in-line pull. For angle loading, see Warnings & Applications.
Fatigue rated at 1-1/2 times the Working Load Limit at 20,000 cycles.
Recommended for in-line pull.
S-279 threaded UNC.
M-279 metric threaded.
Meets or exceeds all requirements of ASME B30.26 including identification, ductility, design factor, proof load and temperature requirements. Importantly, these bolts meet other critical performance requirements including fatigue life, impact properties and material traceability, not addressed by ASME B30.26.
×
Download CAD & PDF Files
First Name
(Required)
Last Name
(Required)
Company
(Required)
Email
(Required)
Phone
(Required)
Job Title
(Required)
Postal Code
(Required)
Comments
This field is for validation purposes and should be left unchanged.
Videos
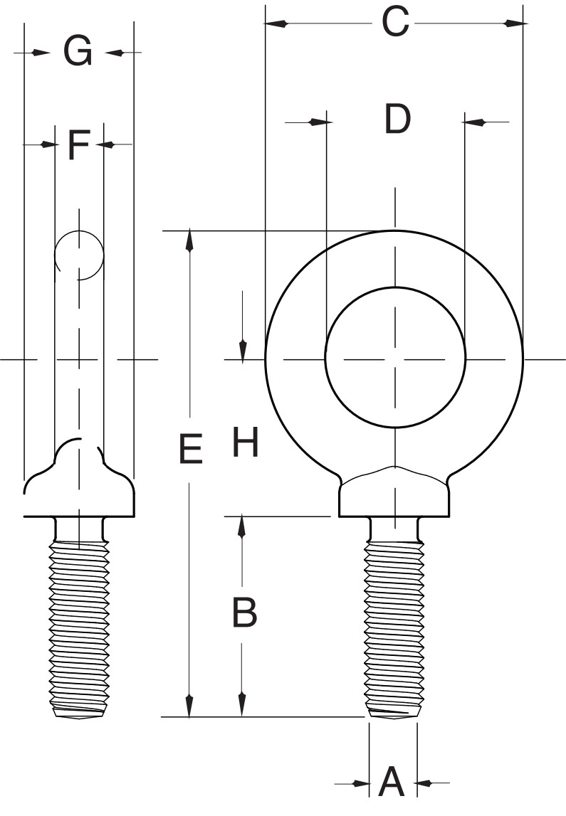
S-279 UNC Shoulder Type Machinery Eye Bolts
Imperial
Metric
Size (in)
Stock No.
Working Load Limit (lb)
Weight Per 100 (lb)
Dimensions (in)
A* Thread
B
C
D
E
F
G
H
3/8 x 1-1/4
9900208
1550
15.00
3/8 - 16
1.27
1.62
1.00
3.07
.31
.69
1.05
1/2 x 1-1/2
9900217
2600
28.00
1/2 - 13
1.53
1.95
1.19
3.70
.38
.91
1.27
5/8 x 1-3/4
9900226
5200
55.00
5/8 - 11
1.79
2.38
1.38
4.45
.50
1.13
1.53
3/4 x 2
9900235
7200
96.00
3/4 - 10
2.05
2.76
1.50
5.07
.63
1.38
1.71
7/8 x 2-1/4
9900244
10600
154.00
7/8 - 9
2.31
3.25
1.75
5.87
.75
1.56
2.00
1 x 2-1/2
9900253
13300
238.00
1 - 8
2.57
3.76
2.00
6.66
.88
1.81
2.30
1-1/8 x 2-3/4
9900257
15000
320.00
1-1/8 - 7
2.75
4.19
2.25
7.20
.97
2.06
2.35
1-1/4 x 3
9900262
21000
399.00
1-1/4 - 7
3.09
4.50
2.50
7.95
1.00
2.28
2.73
1-1/2 x 3-1/2
9900271
24000
720.00
1-1/2 - 6
3.60
5.50
3.00
9.49
1.25
2.75
3.28
1-3/4 x 3-3/4
9900280
34000
1040.00
1-3/4 - 5
3.75
6.26
3.50
10.48
1.38
3.00
3.60
2 x 4
9900289
42000
1880.00
2 - 4-1/2
4.00
7.62
4.00
12.31
1.81
3.38
4.50
2-1/2 x 5
9900298
65000
3250.00
2-1/2 - 4
5.00
8.76
4.50
14.88
2.12
4.25
5.50
Size (mm)
Stock No.
Working Load Limit (t)
Weight Each (kg)
Dimensions (mm)
A* Thread
B
C
D
E
F
G
H
9.53 x 31.8
9900208
.70
.06
32.3
41.1
25.4
78.0
7.85
17.5
26.7
12.7 x 38.1
9900217
1.18
.12
38.9
49.5
30.2
94.0
9.65
23.1
32.3
15.9 x 44.5
9900226
2.35
.24
45.5
60.5
35.1
113
12.7
28.7
38.9
19.1 x 51.0
9900235
3.26
.43
52.0
70.0
38.1
129
16.0
35.1
43.4
22.2 x 57.0
9900244
4.80
.70
58.5
82.5
44.5
149
19.1
39.6
50.8
25.4 x 63.5
9900253
6.03
1.1
65.5
95.5
51.0
169
22.4
46.0
58.4
28.5 x 70.0
9900257
6.80
1.5
69.8
107
57.1
183
24.6
52.3
59.7
31.8 x 76.0
9900262
9.52
1.8
78.5
114
63.5
202
25.4
58.0
69.3
38.1 x 89.0
9900271
10.8
3.2
91.5
140
76.0
241
31.8
70.0
83.3
44.5 x 95.0
9900280
15.4
4.7
95.2
159
88.9
266
35.0
76.2
91.4
51 x 102
9900289
19.0
8.6
102
194
101
313
46.0
85.9
114
63.5 x 127
9900298
29.5
14.5
127
223
114
378
53.8
108
140
5:1 Design Factor. Maximum Proof Load is 2 times the Working Load Limit.
*All bolts threaded UNC.
Diagram Images
Downloads
Downloads
Catalog Page Imperial
Catalog Page Metric
Applications & Warnings
Download print version of the catalog (PDF)
Locate a local sales manager
Authenticate your product
For Crosby and Gunnebo Industries products only
Verify authenticity of a certificate
For Crosby and Gunnebo Industries products only
✖