Close
Skip to content
CHANNEL
PARTNERS
About
News
Events
Community
Overview
Bridges to Prosperity
Lifting for the Troops
The Ocean Cleanup
Japan Paralympic Team
Quality
Engineered Solutions
Brands
Kito
Crosby
Harrington
Gunnebo Industries
Peerless
eepos
Products
Kito
Crosby
Harrington
Gunnebo Industries
Peerless
eepos
Resources
Industries
Training
Overview
End User (University)
Overview
Kito
Crosby
Overview
Request On-Site Training
Order Training Materials
Certificate Reprints
Crosby Videos
Feedback
Harrington
Peerless
Channel Partner (Academy)
Overview
Kito
Crosby
Harrington
Peerless
Training Alliance Program
Request On-Site Training
Careers
Contact
Sales/Customer Service
Clamp Repair Centers
Catalogs
>
Crosby Catalog
>
Chain & Accessories
> Crosby S-314A Clevis Chain Hook with Integrated Latch
Products search
Crosby S-314A Clevis Chain Hook with Integrated Latch
SKU:
GRRR426
Category:
Chain & Accessories
Product details
Forged alloy steel - Quenched & Tempered.
Individually Proof Tested at 2-1/2 times the Working Load Limit with certification.
Integrated heavy duty latch.
Meets ASTM A-952 for Grade 80 chain fittings.
Fatigue rated to 20,000 cycles at 1-1/2 times the Working Load Limit.
×
Download CAD & PDF Files
First Name
(Required)
Last Name
(Required)
Company
(Required)
Email
(Required)
Phone
(Required)
Job Title
(Required)
Postal Code
(Required)
Phone
This field is for validation purposes and should be left unchanged.
Videos
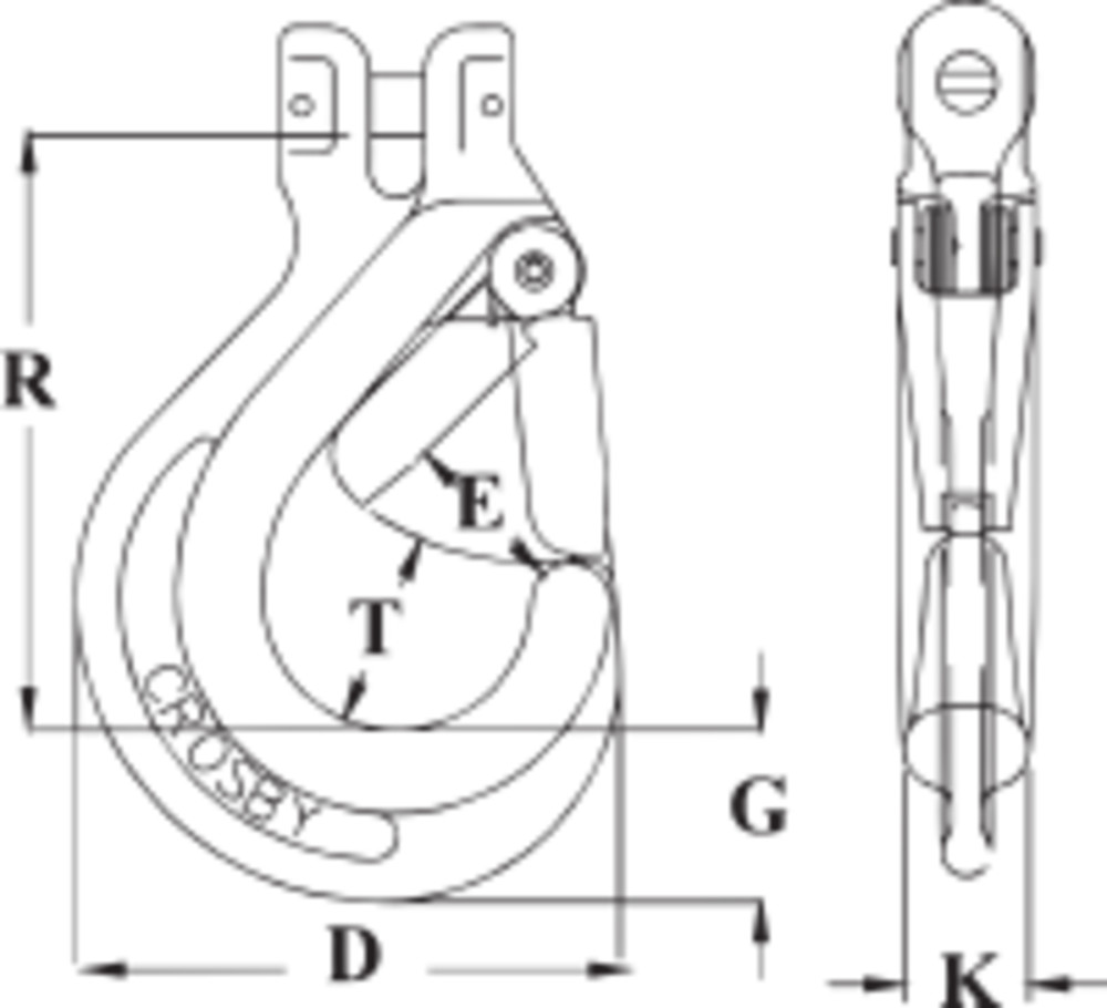
S-314A Clevis Chain Hook with Integrated Latch
Imperial
Metric
Chain Size
Stock No.
Grade 8 Alloy Chain Working Load Limit (lb)
Weight Each (lb)
Dimensions (in)
Replacement Latch Stock No.
(in)
(mm)
D
E
G
K
R
T
–
6
1225020
2500
.69
2.60
.81
.79
.63
2.84
1.02
1291332
1/4 - 5/16
7 - 8
1225021
4500
1.53
3.50
1.08
1.10
.81
3.83
1.28
1291402
3/8
10
1225091
7100
2.84
4.35
1.42
1.16
.94
4.92
1.66
1291472
1/2
13
1225161
12000
5.17
5.45
1.52
1.67
1.16
5.64
1.94
1291542
5/8
16
1225162
18100
9.00
6.56
1.91
2.05
1.50
6.79
2.32
1291612
Chain Size
Stock No.
Grade 8 Alloy Chain Working Load Limit (t)
Weight Each (kg)
Dimensions (mm)
Replacement Latch Stock No.
(in)
(mm)
D
E
G
K
R
T
–
6
1225020
1.12
.32
66.0
20.6
20.0
16.0
72.3
26.0
1291332
1/4 - 5/16
7 - 8
1225021
2
.70
89.0
27.4
28.0
20.5
98.0
32.6
1291402
3/8
10
1225091
3.15
1.29
110.5
36.1
29.3
24.0
125.3
42.2
1291472
1/2
13
1225161
5.3
2.34
138.5
38.6
42.1
29.5
144.5
49.2
1291542
5/8
16
1225162
8
3.67
166.5
48.5
52.0
38.0
172.6
58.9
1291612
4:1 Design Factor.
Diagram Images
Downloads
Downloads
Catalog Page Imperial
Catalog Page Metric
Applications & Warnings
Download print version of the catalog (PDF)
Locate a local sales manager
Authenticate your product
For Crosby and Gunnebo Industries products only
Verify authenticity of a certificate
For Crosby and Gunnebo Industries products only
✖