Close
Skip to content
CHANNEL
PARTNERS
About
News
Events
Community
Overview
Bridges to Prosperity
Lifting for the Troops
The Ocean Cleanup
Japan Paralympic Team
Quality
Engineered Solutions
Brands
Kito
Crosby
Harrington
Gunnebo Industries
Peerless
eepos
Products
Kito
Crosby
Harrington
Gunnebo Industries
Peerless
eepos
Resources
Industries
Training
Overview
End User (University)
Overview
Kito
Crosby
Overview
Request On-Site Training
Order Training Materials
Certificate Reprints
Crosby Videos
Feedback
Harrington
Peerless
Channel Partner (Academy)
Overview
Kito
Crosby
Harrington
Peerless
Training Alliance Program
Request On-Site Training
Careers
Contact
Sales/Customer Service
Clamp Repair Centers
Catalogs
>
Crosby Catalog
>
Blocks
> Crosby McKissick UB-550S Top Swivel Overhaul Balls with SHUR-LOC® Eye Hook
Products search
Crosby McKissick UB-550S Top Swivel Overhaul Balls with SHUR-LOC® Eye Hook
SKU:
GRRR481
Category:
Blocks
Product details
Top swivel design assures that the ball remains stationary if the wireline spins.
Utilizes genuine forged Crosby hooks, bail, and connector.
Quenched & Tempered.
Both styles of hooks incorporate QUIC-CHECK® deformation and angle indicators.
Easy disassembly for periodic inspection and maintenance.
Design factor of 4:1.
×
Download CAD & PDF Files
First Name
(Required)
Last Name
(Required)
Company
(Required)
Email
(Required)
Phone
(Required)
Job Title
(Required)
Postal Code
(Required)
Comments
This field is for validation purposes and should be left unchanged.
Videos
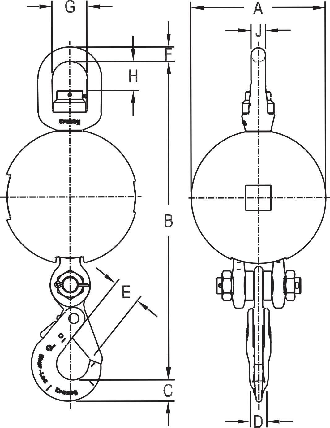
UB-550S Top Swivel Overhaul Balls with SHUR-LOC® Eye Hook
Imperial
Metric
Stock No.
Model No.
Working Load Limit (short Tons)
Weight Each (lb)
Dimensions (in)
A
B
C
D
E
F
G
H
J
1036630
MB04BT085S
4
113
8.88
23.32
1.67
1.16
2.11
1.12
2.75
2.28
1.12
1036658
MB04BT150S
4
178
10.56
25.04
1.67
1.16
2.11
1.12
2.75
2.28
1.12
1036676
MB04BT200S
4
232
11.62
26.04
1.67
1.16
2.11
1.12
2.75
2.28
1.12
1036694
MB07BT085S
7
113
8.88
23.32
1.67
1.16
2.11
1.12
2.75
2.28
1.12
1036714
MB07BT150S
7
178
10.56
25.04
1.67
1.16
2.11
1.12
2.75
2.28
1.12
1036732
MB07BT200S
7
232
11.62
26.04
1.67
1.16
2.11
1.12
2.75
2.28
1.12
Stock No.
Model No.
Working Load Limit (t)
Weight Each (kg)
Dimensions (mm)
A
B
C
D
E
F
G
H
J
1036630
MB04BT085S
3.6
51.3
226
592
42.4
29.5
53.6
28.4
69.9
57.9
28.4
1036658
MB04BT150S
3.6
80.7
268
636
42.4
29.5
53.6
28.4
69.9
57.9
28.4
1036676
MB04BT200S
3.6
105
295
661
42.4
29.5
53.6
28.4
69.9
57.9
28.4
1036694
MB07BT085S
6.3
51.3
226
592
42.4
29.5
53.6
28.4
69.9
57.9
28.4
1036714
MB07BT150S
6.3
80.7
268
636
42.4
29.5
53.6
28.4
69.9
57.9
28.4
1036732
MB07BT200S
6.3
105
295
661
42.4
29.5
53.6
28.4
69.9
57.9
28.4
4:1 Design Factor.
Diagram Images
Downloads
Downloads
Catalog Page Imperial
Catalog Page Metric
Applications & Warnings
Engineered Sheaves & Blocks Brochure
Download print version of the catalog (PDF)
Locate a local sales manager
Authenticate your product
For Crosby and Gunnebo Industries products only
Verify authenticity of a certificate
For Crosby and Gunnebo Industries products only
✖